账号登录
虽然谷歌和三星已经开始在虚拟现实领域开始打拼,但是对于苹果是否会涉足VR领域,大家都还持一个比较谨慎的态度。不过最近根据苹果一项最新的专利来看,苹果的确对虚拟现实市场感兴趣,而并非只是观望的态度。

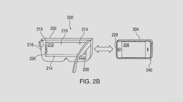
根据苹果这项最新专利显示,用户可以用iPhone作为虚拟现实头盔的严控其使用,虽然在专利中苹果没有明确提及这是一款虚拟现实设备,不过从造型上看,的确是一款虚拟现实或者增强现实类产品。
虽然从VR头盔的设计部分来看,与谷歌Daydream和三星Gear VR设备没什么太大的区别,但是在专利中苹果描述了一种场景,通过iPhone和头盔上的某种端口连接,然后配对后变成了辅助控制装置。
而从专利图像的设计草稿上看,似乎让我们想起了苹果经典的iPod滚轮,并且头盔采用了虚拟触控面板。

当然,除了专利之外,苹果首席执行官库克之前也表达了自己对于增强现实技术的忠实,他丝毫不掩饰自己对这项技术前景的期待,因此如果未来苹果真的推出类似的产品,我们也不会感到意外。
当然,对于苹果来说,专利是一回事,能不能变成产品又是另外一回事。要知道苹果一直都喜欢申请专利,但是有许多都只是停留在专利层面而已。其实苹果在2010年还申请了另外一项头戴显示设备的专利,但是在2014年被USPTO拒绝。
不管怎么说,在今年年底的iPhone发布会上,苹果是否会带来与增强现实有关的产品或技术,也是比较值得关注的一个点。